据悉,本轮募集资金将重点投入脑机接口核心技术研发、关键器件迭代及产业化布局,加速介入式、侵入式脑机接口产品的临床规模化应用。
聚芯医疗成立于2021年,核心团队深耕三类植入医疗器械研发超13年,具备丰富的脑医学资源整合与商业化全链条能力。
其中,聚芯医疗创始人兼CEO黄辉,拥有丰富的介入产品管理经验和初创公司成长经历,曾担任堃博医疗中国区全国销售经理、华医圣杰市场总监及直销经理、先健科技区域经理,所管理产品在其任内均成长为同类市场占有率第一或第二位。
聚芯医疗CTO刘香东,曾任先健集团研发总监、健心科技总经理,主导研发冠脉支架、封堵器、血管支架、瓣膜、神经介入等产品,对应产品线年销售额超4亿元;曾参与多项国家级及省市级重大科技项目,并获中国质量协会六西格玛黑带大师认证。
聚芯医疗以心脑血管介入器械为起点,构建了覆盖卒中、结构性心脏病的完整产品矩阵。神经介入领域布局了血流导向密网支架、颅内支架、弹簧圈栓塞系统及多类导管导丝;心脏介入方向则聚焦二尖瓣、三尖瓣的微创修复,其中自主研发的介入二尖瓣腱索修复系统已展现出创伤小、恢复快的临床优势。全系列自主知识产权,累计申请国内外专利超200项,获三类医疗器械注册证10张,核心材料与设备国产化率超95%。
同时,公司不仅完成了产品布局,还打通了材料、精密加工与输送系统的底层能力。

作为一家“心脑同治”企业,依托心脑血管介入的精密器械、微创介入、神经调控底层技术积累,聚芯医疗还向脑机接口延伸,提出 “修心护脑” 核心理念,将心脑血管疾病治疗与神经功能调控深度融合,从介入脑机等闭环神经调节疗法切入,已完成核心部件与底层技术的布局,管线逐步进入临床应用验证阶段。
技术方面,则主要围绕介入式或侵入式路径,开展神经调控与功能重建相关技术布局,整体技术路径以微创介入技术与脑机接口平台为支撑,面向神经调控及脑功能相关应用场景。

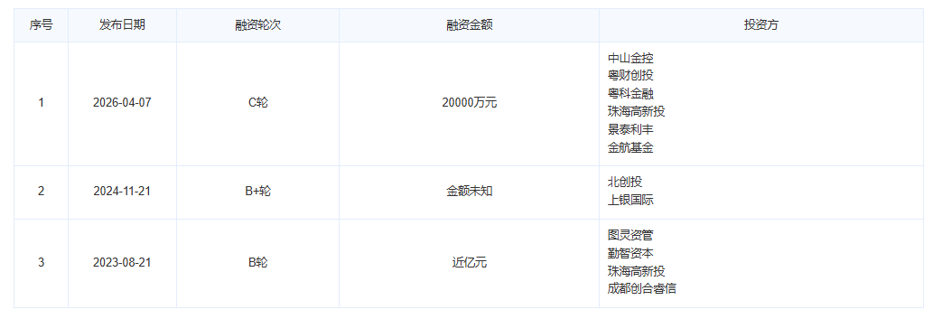
截至目前,公司已完成三轮融资。引入了珠海高科创投、勤智资本、图灵资管、上银国际、北创投、粤财控股、景泰利丰、粤科金融集团、中山金控、珠海高新金投、金航产业等多家机构。其中,2023年8月完成近亿元B轮融资,2024年11月完成B+轮融资。总的来说,聚芯医疗的核心竞争力,在于较早完成了从研发到商业化的跨越。公司卒中相关产品获证后迅速放量,已进入多家头部三甲医院,同时完成了全国商业渠道的搭建,并启动海外市场拓展。这种“先器械、后脑机”的发展路径,使其在现金流、注册经验与临床资源上具备更强的抗风险能力,能够支撑长周期、高投入的脑机接口研发。此外,资本在此时加注也印证了其具备从技术验证走向规模化落地的潜力。