逼近业内预测年内高值!宽幅震荡下,9月债市现券收益率创今年次高

券商中国

4天前

进入四季度,债市多空博弈渐烈。

与去年债市单边走牛的行情相比,今年以来债市呈现宽幅震荡的特征(年初至今震荡区间已约30bps),“波段难做”愈发成了多家行债券自营团队普遍感受。

券商中国记者查阅全国银行间同业拆借中心数据,从债券现券买卖的表现看,各期限品种债券收益率震荡上行成了一个很难忽略的现象:

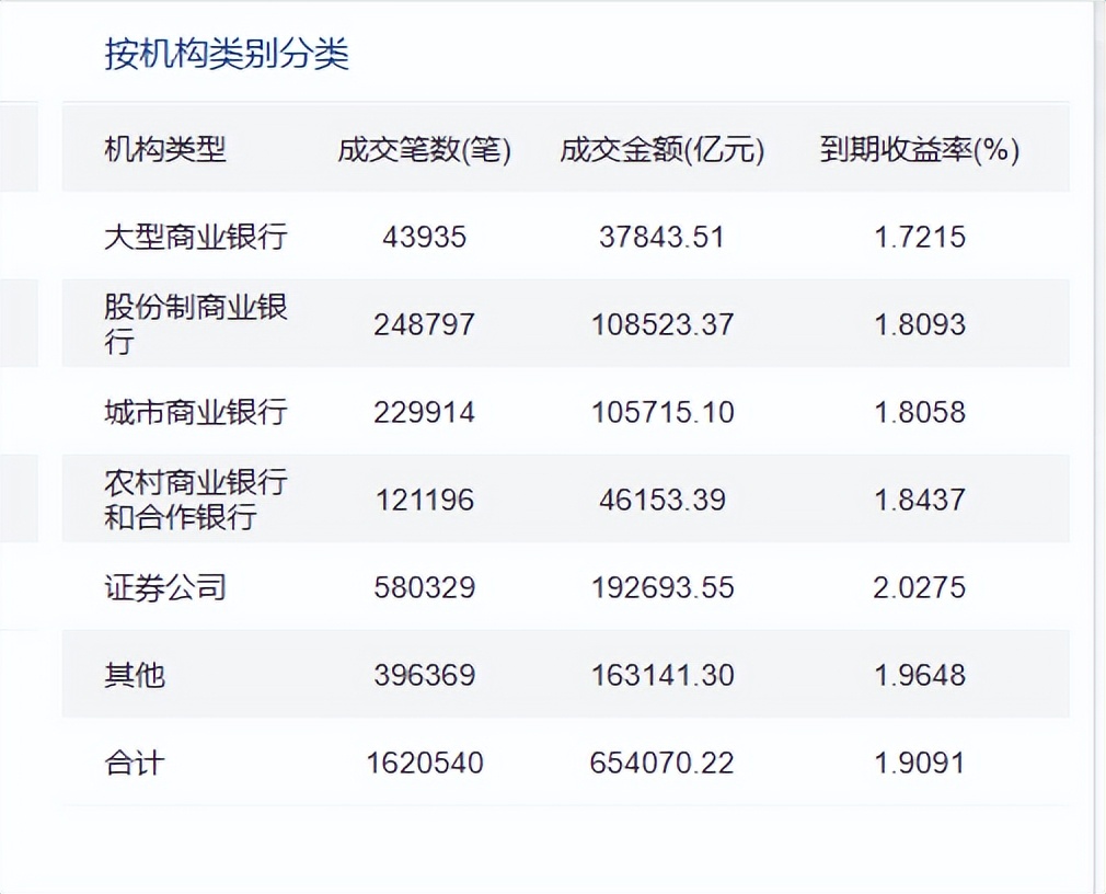
9月,股份行、城商行和农商行的现券买卖到期收益率均站上1.8%上方,分别为1.8093%、1.8058%、1.8437%,均较上月的1.7%-1.8%区间不同程度抬升,均创出继今年3月以来的次高。

9月现券收益率创出今年次高

有业内人士告诉券商中国记者,股债跷跷板效应、监管反内卷态度、增值税政策调整等一系列因素共同作用,交织成今年以来债市宽幅震荡走势。

近期债券市场收益率再次反弹,十年期国债收益率震荡上行。截至10月14日,十年期国债收益率为1.8591%。券商中国记者注意到,多家机构研报和债券交易员的预测均为十年期国债收益率的震荡区间是在1.5%到1.9%之间。也就是说,四季度才刚刚开始,十年期国债的收益率就已经逼近研究员预测的今年最高值。

全国银行间同业拆借中心数据的债券现券买卖数据,也展示了新券各期限品种交易成交价格的上行。9月,国、股、城、农商行的9月现券成交金额为146366.88亿元:大行现券买卖到期收益率为1.7215%,股份行为1.8093%,城商行为1.8058%,农商行为1.8437%,证券公司更是高达2.0275%。

拉长观察区间到全年,此收益率仅次于今年3月份,为年初至今次高:3月大行的现券买卖到期收益率为1.8656%、股份行1.8719%、城商行为1.9062%、农商行为1.8757%、证券公司为2.0586%。

来源:全国银行间同业拆借中心

多因素加剧10月波段操作难度

华西证券固收团队的研报,用“从单边调整回归双边博弈”来形容9月债市。

其称三季度以来,在商品与权益强势行情的先后冲击下,债市经历了较为漫长的调整行情,7-8月,10年国债活跃券最大上行幅度达到15bps。进入9月,市场情绪悄然发生转变,随着中长久期品种收益率普遍攀升至高位,票息性价比显现,做多的呼声逐渐回归,这也使得债市从单边调整过程,过渡至多空博弈状态。

从定价内容来看,华西证券总结了9月债市三个主线交易逻辑:首先是风险偏好,9月“股债跷跷板”现象依旧存在,不过随着股市从全面行情向结构性行情演化,权益表现逐渐退化为债市的日内影响因素。其次是市场对“宽货币”的猜想,9月大行提升了对中长久期利率债的配置力量,也为市场“央行买债”预期提供了新的信心来源。最后是债基赎回费以及公募免税优惠的改革问题。除了以上三个主线逻辑以外,9月资金面的提前收敛,同样是影响利率上行的重要变量。

复盘今年上半年,上市行投资收益的实现,主要是债券浮盈兑现保持高位。券商中国记者提取企业预警通信息,今年上半年,42家A股上市行中,只有中行、交行、兴业、民生、江苏、重庆农商行、重庆银行共7家银行的投资收益负增长;其他实现同比正增长的35家上市行,其上半年的投资收益平均增幅超过45%。

有专业的分析研报如中信证券研报指出:不少上市银行投资收益对营收的贡献集中在一季度,存量浮盈债券属于一次性消耗,二季度浮盈“老债”库存明显吃紧。于是,在宽频震荡区间里,三、四季度债市行情是否还能支撑银行下半年投资收益,有待追踪观察。

华西证券固收团队指出,10月债市有四大关注点:一是央行买债与基金费率调整;二是“十五五”规划与市场风险偏好;三是今年的财政节奏或可有效打破资金面四季度收敛的季节性特征;四是国内基本面和海外变数(比如美国政府停摆问题导致的相关数据缺位)。

综合上述四点,华西证券固收团队结论是10月债市利率高位高波的状态可能会延续。“央行重启买债”与基金费率新规、政策性变量、风险偏好、资金变化、基本面数据、海外因素的短期定价为债市交易带来扰动,加剧10月波段操作难度。

在操作策略上,银行提高波段交易能力的同时,适度增加衍生品对冲和类固收资产,成了很多专业人士的共同认知。

招商银行副行长兼财务负责人彭家文此前在该行业绩交流上表示,从长远来看,整体的债券走势还是长期向下。在现阶段会呈现宽幅震荡的行情下,该行会采取四项措施:一是大类资产配置保持合理的债券投资占比,这一数据该行在30%左右;二是在资产配置方面,要把握高点、逢高配置,以保持组合相对较高的收益水平;三是把握市场研判,做好波段操作,获取交易性收入;四是保持债券的久期在合理的水平,并适当加大衍生工具操作,对冲风险。

建设银行金融市场部高级经理郑葵方近期建议,投资者需加强对市场趋势的研判与时机把握,精准识别波段高低点,灵活调整仓位实现收益。同时,合理运用国债期货、利率互换等衍生品工具,构建对冲组合。

平安理财表示,债市目前仍缺乏趋势性机会,配置层面票息策略占优,波动环境下高胜率的灵活交易策略也能带来增厚收益。



进入四季度,债市多空博弈渐烈。

与去年债市单边走牛的行情相比,今年以来债市呈现宽幅震荡的特征(年初至今震荡区间已约30bps),“波段难做”愈发成了多家行债券自营团队普遍感受。

券商中国记者查阅全国银行间同业拆借中心数据,从债券现券买卖的表现看,各期限品种债券收益率震荡上行成了一个很难忽略的现象:

9月,股份行、城商行和农商行的现券买卖到期收益率均站上1.8%上方,分别为1.8093%、1.8058%、1.8437%,均较上月的1.7%-1.8%区间不同程度抬升,均创出继今年3月以来的次高。

9月现券收益率创出今年次高

有业内人士告诉券商中国记者,股债跷跷板效应、监管反内卷态度、增值税政策调整等一系列因素共同作用,交织成今年以来债市宽幅震荡走势。

近期债券市场收益率再次反弹,十年期国债收益率震荡上行。截至10月14日,十年期国债收益率为1.8591%。券商中国记者注意到,多家机构研报和债券交易员的预测均为十年期国债收益率的震荡区间是在1.5%到1.9%之间。也就是说,四季度才刚刚开始,十年期国债的收益率就已经逼近研究员预测的今年最高值。

全国银行间同业拆借中心数据的债券现券买卖数据,也展示了新券各期限品种交易成交价格的上行。9月,国、股、城、农商行的9月现券成交金额为146366.88亿元:大行现券买卖到期收益率为1.7215%,股份行为1.8093%,城商行为1.8058%,农商行为1.8437%,证券公司更是高达2.0275%。

拉长观察区间到全年,此收益率仅次于今年3月份,为年初至今次高:3月大行的现券买卖到期收益率为1.8656%、股份行1.8719%、城商行为1.9062%、农商行为1.8757%、证券公司为2.0586%。

来源:全国银行间同业拆借中心

多因素加剧10月波段操作难度

华西证券固收团队的研报,用“从单边调整回归双边博弈”来形容9月债市。

其称三季度以来,在商品与权益强势行情的先后冲击下,债市经历了较为漫长的调整行情,7-8月,10年国债活跃券最大上行幅度达到15bps。进入9月,市场情绪悄然发生转变,随着中长久期品种收益率普遍攀升至高位,票息性价比显现,做多的呼声逐渐回归,这也使得债市从单边调整过程,过渡至多空博弈状态。

从定价内容来看,华西证券总结了9月债市三个主线交易逻辑:首先是风险偏好,9月“股债跷跷板”现象依旧存在,不过随着股市从全面行情向结构性行情演化,权益表现逐渐退化为债市的日内影响因素。其次是市场对“宽货币”的猜想,9月大行提升了对中长久期利率债的配置力量,也为市场“央行买债”预期提供了新的信心来源。最后是债基赎回费以及公募免税优惠的改革问题。除了以上三个主线逻辑以外,9月资金面的提前收敛,同样是影响利率上行的重要变量。

复盘今年上半年,上市行投资收益的实现,主要是债券浮盈兑现保持高位。券商中国记者提取企业预警通信息,今年上半年,42家A股上市行中,只有中行、交行、兴业、民生、江苏、重庆农商行、重庆银行共7家银行的投资收益负增长;其他实现同比正增长的35家上市行,其上半年的投资收益平均增幅超过45%。

有专业的分析研报如中信证券研报指出:不少上市银行投资收益对营收的贡献集中在一季度,存量浮盈债券属于一次性消耗,二季度浮盈“老债”库存明显吃紧。于是,在宽频震荡区间里,三、四季度债市行情是否还能支撑银行下半年投资收益,有待追踪观察。

华西证券固收团队指出,10月债市有四大关注点:一是央行买债与基金费率调整;二是“十五五”规划与市场风险偏好;三是今年的财政节奏或可有效打破资金面四季度收敛的季节性特征;四是国内基本面和海外变数(比如美国政府停摆问题导致的相关数据缺位)。

综合上述四点,华西证券固收团队结论是10月债市利率高位高波的状态可能会延续。“央行重启买债”与基金费率新规、政策性变量、风险偏好、资金变化、基本面数据、海外因素的短期定价为债市交易带来扰动,加剧10月波段操作难度。

在操作策略上,银行提高波段交易能力的同时,适度增加衍生品对冲和类固收资产,成了很多专业人士的共同认知。

招商银行副行长兼财务负责人彭家文此前在该行业绩交流上表示,从长远来看,整体的债券走势还是长期向下。在现阶段会呈现宽幅震荡的行情下,该行会采取四项措施:一是大类资产配置保持合理的债券投资占比,这一数据该行在30%左右;二是在资产配置方面,要把握高点、逢高配置,以保持组合相对较高的收益水平;三是把握市场研判,做好波段操作,获取交易性收入;四是保持债券的久期在合理的水平,并适当加大衍生工具操作,对冲风险。

建设银行金融市场部高级经理郑葵方近期建议,投资者需加强对市场趋势的研判与时机把握,精准识别波段高低点,灵活调整仓位实现收益。同时,合理运用国债期货、利率互换等衍生品工具,构建对冲组合。

平安理财表示,债市目前仍缺乏趋势性机会,配置层面票息策略占优,波动环境下高胜率的灵活交易策略也能带来增厚收益。



展开
打开“财经头条”阅读更多精彩资讯
APP内打开